Fiat-Chrysler Automobiles se pregătește să intre în clubul select al producătorilor care au în gamă motoare cu șase cilindri în linie. Această mutare este prefigurată de un patent depus de producătorul italiano-american. Zvonuri despre renunțarea la motorizările V6 în favoarea celor cu șase cilindri în linie au mai fost la FCA, dar patentul depus arată că dezvoltarea unei astfel de motorizări de află într-o fază avansată.
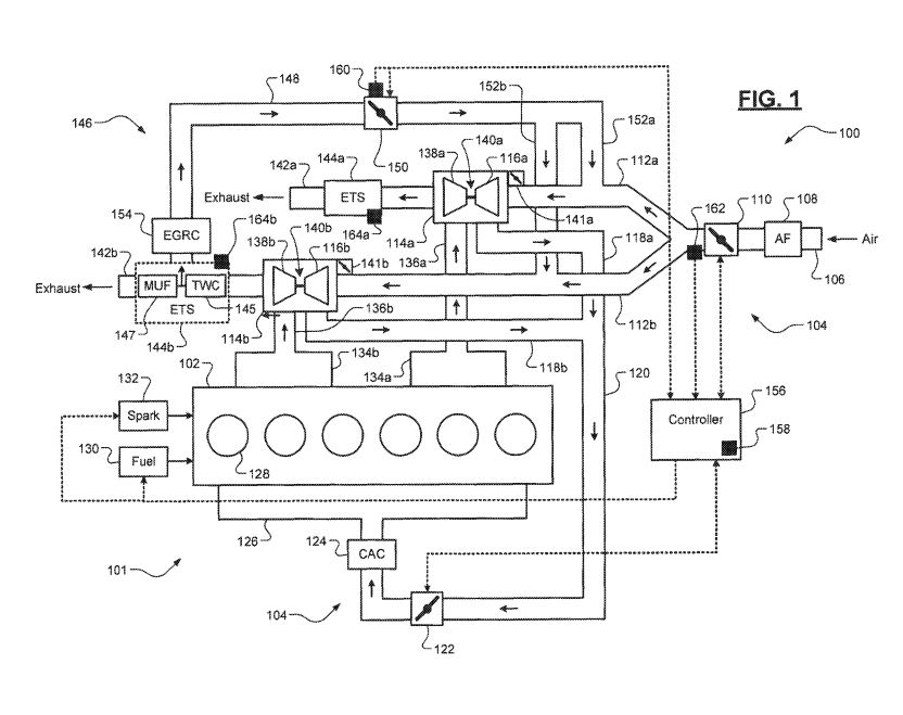
Patentul a fost semnalat de cei de la Moparinsiders.com și reprezintă un sistem EGR dezvoltat pentru un motor turbo cu șase cilindri în linie. Schița nu are nimic extraordinar din acest punct de vedere, dar reprezentarea unui bloc motor cu șase cilindri reprezintă o confirmare a faptului că cei de la FCA dezvoltă o astfel de motorizare. Patentul a fost depus pe data de 2 aprilie a anului curent.

Motorul cu șase cilindri în linie care, potrivit unor surse din industrie, ar purta numele de cod Tornado și GME-T6, ar fi ideal pentru utilizarea în modele cu motor amplasat longitudinal, așa cum este Jeep Grand Cherokee sau Wrangler. Potrivit celor de la Moparinsiders.com, nivelul de putere s-ar putea încadra în intervalul 360 CP – 525 CP.
FCA nu are multe modele în gamă care să folosească o motorizare V6 amplasată transversal, dar noua motorizare nu va înlocui actualele unități V6 Pentastar folosită în aceste cazuri. Mai degrabă, unitatea actuală de 3,6 litri va face loc în viitor unor motorizări cu patru cilindri în linie. Eventual, reducerea numărului de cilindri ar putea fi compensată prin electrificare.
Alte zvonuri indică faptul că FCA ar putea folosi în viitor supraalimentare cu turbine acționate electric. Acestea reprezintă o soluție inteligentă, care elimină necesitatea folosirii unor soluții complicate, cu turbine multiple. În locul acestor soluții costisitoare, o turbină antrenată electric ar trebui să adauge doar un motor electric la axul turbinei.
Acest motor electric ar asigura presiunea turbo atunci când gazele de evacuare nu au suficientă putere, eliminând golul turbo la turații scăzute. În plus, ar permite recuperarea energiei în fazele de decelerare.